Predlažem da se otvori tema u kojoj će biti napisana sva inženjerksa "pravila" na jednom mestu koja mogu koristiti svim SSM kao vodilja prilikom radova i sa kojima sigurno neće pogrešiti.
Evo par koja najčešće važe:
- visina betonske grede treba da iznosi 1/12-1/10 raspona
- širina grede je 1,5 do 2 puta manja od visine
- debljina pune betonske ploče iznosi 1/35 raspona (ploča oslonjena na zidove, ne konzolna)
Osnovna "pravila" za ssm gradnju
Ja ću se truditi i nadam se da će i drugi da se uključe.
Prilikom betoniranja je važno da se ne koristi beton sa prevelikom krupnoćom agregata. Osnovno pravilo je da se veličina zrna uzima kao najmanja od sledećih vrednosti:
- 1/4 širine grede
- 1/3 debljine ploče ili AB zida
- 1,25 x najmanji razmak armature
Ovo je pogotovo važno kad se betoniraju Fert ili TM tavanice, tamo je betonska ploča 5cm što znači da se koristi beton sa 3 frakcije (a sigurno su svi bar jednom videli da se Fert tavanica betonra sa prirodnom mešavinom sa komadima velikim kao pesnica).
Armatura uvek ide u zonu gde se javlja zatezanje.
Primer:
- ako je greda osnlonjena samo da dve strane (prosta greda) armatura ide u donju zonu (gore konstruktivna u u glovima)
- ako je greda oslonjena u tri tačke (preko dva polja) armatura ide u donju zonu u polju i nad osloncima u gornju zonu (ako su polja približno iistog raspona, nad oslonce treba duplo više armature nego u polju)
- uzengije se u zoni oslonca stavljaju na duplo manjem razmaku nego u polju (maksimalan razmak na osloncu je 15cm i ne uzimajte manje od 8mm). Zona u kojoj su progušćene uzengije je oko 1/5 raspona)
- kod temeljnih greda važi isto pravilo samo se armatura stavlja obrnuto!!!!
Kako obrnuto ?
I šta je uzengija ? Koji je hrvatski naziv ?
Vilice, ako se ne varam...
Pa lepo, položaj armature u temeljnoj gredi je obrnut od položaja armature u gredi neke ploče.
Npr, ako greda oslonjena u dve tačke onda je zategnuta donja strana grede i tamo se stavlja armatura, a kod temeljne grede je obrnuto (zategnuta je gornja strana betona) pa se armatura stavlja u gornju zonu.
Mislim da se uzengije na hrvatskom kažu spone (bar sam na takav naziv naišao u nekoj hrvatskoj knjizi za betonske konstrukcije)
hrvatski naziv za uzengiju je stremen
Lepo je krenula ova tema,samo nije daleko odmakla od pocetka....
Izgleda da je zvukoljub bio u pravu.
Ja ću kako mi šta bude padalo na pamet pisati ali se nadam da će se i drugi uključiti.
Ideja je dobronamerna, ali je treba doraditi, jer je ovako izvan kontrole. Mislim da bi najpre trebalo precizno ustanoviti, pa tek onda postaviti kao važeće svako od tih pravila. Recimo., iz neke diskusije se izvuče zaključak, i nakon toga nadležni moderator to postavi u "osnovna pravila za SSM gradnju". Inače će da se desi da neko slučajno ili namerno postavi kao pravilo nešto što ne stoji. Npr., i ti nisi do kraja objasnio kada se temeljne grede armiraju kao kontra-grede a kada ne, i neko iz toga može da izvede pogrešan zaključak.
Slažem se sa drdinim predlogom. Možda da se otvori tema gde će se predlagati pravila pa ako se složimo oko njih da idu ovde.
@drda, jel možeš da objasniš šta nije jeasno sa temeljnim gredama.
@lookic
Laici bi iz tvog posta mogli da zaključe da se svaka temeljna traka armira kao kontra greda, što naravno nije tačno. Nas dvojica znamo o čemu se radi, ali neukima treba potanko pojasniti detalje, inače će usvojiti kao pravilo kontra armiranje svake temeljne trake.
A, na to misliš. Onda izgleda da nam treba još jedna tema sa definisanjem pojmova.
Da ne bi došlo do zabune:
- pod temeljnom trakom se podrazumeva temeljna "greda" na koju se oslanjanju zidovi i ona se uglavnom armira konstruktivnom armaturom (npr. dve tri šipke fi12 gore i sto toliko dole i uzengije). Ako su objekti sa tri i više etaža, sigurno je potrebna veća širina temelja, a onda je potrebno i proračunati armaturu.
- na temeljnu gredu se oslanjaju stubovi, zidovi iz poprečnog pravca ili temeljna ploča pa je ona uvek opterećena na savijanje i za nju se uvek mora proračunati količina armature. postavljanje armature je po principu kako sam napisao u postu #4
Ako su lookic i drda još uvek aktivni ili neko treći molio bih za pojašnjenje oko temeljnih greda. Naime čitajući googl-a naišao sam da se temeljna traka radi u obliku obrnutog slova "T" gde je donji deo osnova ili baza šira a naviše se izlazi sa užim tj. manjom širinom od osnove. Npr: u donjoj zoni na dubini -80cm uradiš osnovu 40cm širine i 40cm visine ( mada sam negde našao da odnos širine i visine osnove mora biti manji od 4?!, a onda naviše do nule ideš sa širinom recimo 25 cm da bi došao do nule, e gde se tu postavlja armatura? U donjoj zoni tj. osnovi temeljne grede ili u serklažu tj. u gornjoj zoni hipotetički za manji objekat eventualno sa potkrovljem. Podrazumeva se da su na ćoškovima obavezni armirani stubovi.
Ima li neka literatura, vezana za ovu temu ,
koja se može naći na internetu a koja je svojom terminologijom
prilagođena amaterima i ssm projektima (šupe, manje vikendice i kuće),
gde su objedinjena sva ova pravila
@ veteran
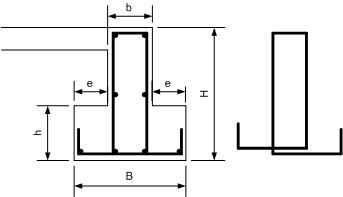
U principu si u pravu, s tim što širina trake u kontaktu sa tlom zavisi od opterećenja koje se preko te trake prenosi, ali recimo da je za standardu kuću na sprat dovoljna širina ok cca 50cm (zavisi od kvaliteta tla). Visina tog donjeg dela ne bi smela da bude manja ob (B-b)/2 gde je B širina temelja u kontaktu sa tlom, a b širina temelja ispod zida, mada je uobičajeno da ta visina bude bar 15-20cm. armaturu stavljaš u gornjoj zoni u uglovima i u donjoj zoni vertikalno ispod armature u gornjoj zoni i ta armatura se povezuje uzengijama na razmaku od 25-30cm. Takođe se postavljaju i šipke u uglovima prošrenja. Kad je razmak između šipki po vertikali veći od 30cm (šipke u gornjoj zoni i šipke u donjoj zoni), trebalo bi staviti dodatnu armaturu između njih kako se uzengije ne bi deformisale..
Kod temelja je važo voditi računa i o debljini zaštitnog sloja betona (odnosno odstojanja armature od ivice betona) i ona treba da iznosi 4-5cm.
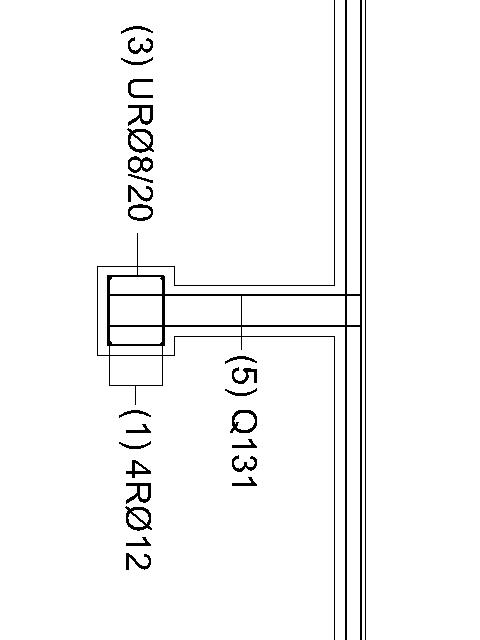
U prilogu je jedno moguće rešenje temeljne trake na spoju sa pločom. armatura (5) je mrežasta armatura jer je majstorima bilo tako zgodnije nego da postavljaju uzengije u armaturu.
Nadam se da sam pomogao.
@ Pinki
Mislim da bi knjige za srednju građevinsku bile dobro rešenje. ukcaj u google "baneprevoz" pa vidi šta ima na sajtu.
lookic je napisao :"armaturu stavljaš u gornjoj zoni u uglovima i u donjoj zoni vertikalno ispod armature u gornjoj zoni i ta armatura se povezuje uzengijama na razmaku od 25-30cm. Takođe se postavljaju i šipke u uglovima prošrenja".
Što bi rekli u jednom našem domaćem filmu - jel to pitanje ili odgovor? Iz priložene skice se vidi da je armirana greda u donjoj zoni tj.osnovi temeljne trake, a takođe se stavlja i horizontalni serklaž u gornjoj zoni ( na užem delu temeljne trake - gde će da bude pod ili patos ne znam kako se stručno kaže ). Jel to pravilo struke?
Znači armirana greda dole, armirani stubovi na ćoškovima i ( ako je duži raspon budućeg zida ) evntualno još neki stub, pa armirani serklaž gore i kad se beton stegne stavi izolaciju pa zidaj. Jesam li dobro razumeo, jer neki kažu da skroz dole u temeljnoj gredi ne treba armirati samo serklaž. I neću više dosađivati po ovom pitanju.
Da pokušam ponovo, moguće da nisam bio najjasniji.
Priložio sam novu sliku, koja odgovara temelju ispod fasadnog zida, da bude jednostavnije za objašnjenje.
Kod temelja ispod zidova kod kojih je ispunjen uslov koji se odnosi na odnose dimenzija h>=e u principu nije potrebna armatura, dok u ostalim slučajevima treba, ali je danas uobičajeno da se uvek stavlja armature.
Armatura u ovakvim temelji je konstrucijska (u normallnim okolnostima nema nikakvu ulogu u nosivosti temelja) i kao takva nema potrebe da bude ni prevelika ni da je bude previše. Po meni je su šipke fi12 taman koliko treba. 4 šipke u donjoj zoni su postavljene zbog oblikovanja uzengija (na slici je sa strane dato šematski kako su savijene uzengije), dve šipke u gornjoj zoni iz istog razloga, dok dve šipke u sredini visine treba staviti ako je razmak između gornjih i donjih šipke veći od 30-ak cm da se prilikom betoniranja armaturni koš ne bi previše vitoperio.
Što se tiče vertikalnih serklaža (u zidanim konstrukcijama se stubovi zovu vertikalni serklaži) oni svakako idu u ćoškove objekta, na mestima gde se ukrštaju zidovi, a pored toga, razmak vertikalnih serklaža ne bi trebalo da je veći od 5m (što znači da ako imaš sobu dugačku 6m, na tom delu zida treba da budu 3 vertikalna serklaža). S obzirom na to da se ipak nalazimo u trusnom području, ako pravite kuću ( ne šupu i sl) armatura u vertikalnim serklažu bi trebalo da bude 4fi14 a u horizontalnim 4fi12.
Nadam se da se niko ne ljuti ako u odgovorima ponekad i objašnjavam pojmove i sl. Pored praktičnih stvari uvek je dobro naučiti i malo teorije 
Za zidanje nikad ne koristiti čist cementni malter, već uvek produžni ili krečni.
lookic
И кречни малтер не користити при зидању.
lookic
И кречни малтер не користити при зидању.
Moze li pojasnjenje,hvala 
Ima li neko pdf 'kostruktivni elementi zgrada" ?
Hvala 
lookic
И кречни малтер не користити при зидању.
Objašnjenje za ovu tvrdnju i mene interesuje
После земљотреса у Скопљу 1963. год. донети су први прописи за грађење у сеизмичким подручјима који су важили до 1981 год. када је донет Правилник о техничким нормативима за изградњу објеката високоградње у сеизмичким подручјима. Тада смо добили и сеизмичку карту на основу података о земљотресима који су се догодили. Према карти највећи део територије сврстан је у 7, 8, 9 категорију интензитета према МЦС скали.
Према овом правилнику забрањена је употреба кречног и цементног малтера, а минимална дозвољена чврстоћа продужног малтера је М-2.5 у 7 и 8 зони, а М-5 за 9 зону.
Неки однос би требао да буде:
М-2,5.......... 1:2:6 (цемент: креч: песак)
М-5 .......... 1:2:5 (цемент: креч: песак)
A kakva je situacija sa ovim hemijskim komponetama koje se dodaju umesto kreča?
Јако добра ствар су те "замене за креч", а за неко "чврсто" мишљење је добро отићи до грађевинског факултета на катедри за грађевинске материјале, јер тамо се раде испитивања и упоредне анализе.
@kojot
U pravu si, skroz sam smetnuo sa uma seizmičke propise, mada sam prilično siguran da je, kad sam ih jednom davno čitao, pisalo da se u seizmički aktivnim područjima koristi produžni malter i izričito naglašeno da nije dozvoljena upotreba cementnog maltera, dok za krečni nije tako naglašeno.
U svakom slučaju, za zidanje se koristi krečni malter.
" ..... донет Правилник о техничким нормативима за изградњу објеката VISOKOGRADNJE ..."
Pitanje glasi, da li porodicne prizemne ili jednospratne kuce ,spadaju u ovu kategoriju { visokogradnja } pa se gore spomenuti zakon odnosi i na njih?

Dobra ideja, nadam se samo da neće ostati na pokušaju, kao što je već bilo do sad od nekih drugih autora.
Без алата нема заната, a без знања ни најбољи алат неће помоћи..